■概述
SCB系列模拟量(电流型)信号隔离器是在自动化控制系统中对0~20mA工业信号进行隔离的仪表,可与多种工业传感器配合,取回参数信号,隔离传输,满足用户在监控室监视远程数据采集的需求,提高系统的抗干扰能力。广泛应用于机械、电气、电信、电力、石油、化工、钢铁、污水处理、楼宇建筑等领域的信号传输转换、PLC、DCS等工业测控系统,用来完善和补充系统模拟I/O插件功能,增加系统适用性和现场环境的可靠度。
■型号规格
订货信息:
|
规格 |
订货号 |
|
C型封装,1路0~20mA输入,对应2路0~20mA输出,光电隔离,220VAC电源 |
SCB-C-A3O3-P4 |
|
C型封装,1路0~20mA输入,对应2路0~20mA输出,光电隔离,24VDC电源 |
SCB-C-A3O3-P2 |
|
C型封装,特殊规格 |
定制 |
■特点
● 输入:直流电流,0~20mA范围,光电隔离
● 精度:≤±0.2%RO
● 隔离方式:输入、输出、电源完全隔离,抗干扰能力强
● 输出:2路0~20mA电流输出
● 额定工作电源:220VAC / 24VDC(按订货型号而定)
● 体积轻巧、外形美观、35mm标准导轨安装、装卸方便
■技术参数
|
精度 |
≤±0.2%RO |
|
输入测量 |
直流电流0~20mA,可订制特殊规格 |
|
线性度 |
≤±0.1%RO |
|
满刻度校准 |
≤20%RO |
|
零点校准 |
≤10%RO |
|
隔离强度 |
AC1500V(rms)/min 电源、输入、输出1、输出2四方完全隔离 |
|
工作电源 |
AC/DC24~265V±10% |
|
电源消耗 |
AC约4VA,DC约4W |
|
响应时间 |
≤400msec. |
|
工作环境 |
-10~60℃/小于95%相对湿度(无冷凝状态) |
|
贮存环境 |
-20~70℃/小于70%相对湿度 |
|
输出波纹 |
≤0.2%R.O.(峰峰值) |
|
输出负载 |
0~10Vdc(负载电阻=输入电压/10mA);4~20mA(负载电阻=10V/输出电流) |
|
外壳材质 |
ABS防火材料 |
|
安装方式 |
35mm标准导轨 |
|
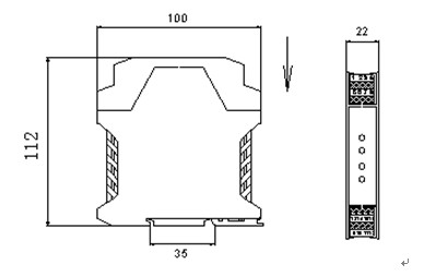
外型尺寸 |
100(L)×22(W)×112(H)mm |
|
重量 |
约200克 |
■外型尺寸

■接线
●仪表接线采用可拆卸的接线端子,方便灵活使用;
●导线采用截面积0.5~2.5平方毫米多束或单股电缆;
●导线裸露长度约为7mm,由M3螺钉锁紧。

■接线图
● 辅助电源(1+,3-)端子,220VAC/24VDC(按订货型号而定)
● 输入:直流电流信号输入Adc(12+,10-)端子
● 输出1:直流电流信号Adc(7+,5-)端子
直流电压信号Vdc(8+,6-)端子----无输出、端口预留
● 输出2:直流电流信号Adc(14+,13-)端子
直流电压信号Vdc(16+,15-)端子----无输出、端口预留
■校准微调

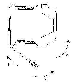
安装
采用DIN35mm标准导轨安装
● 将仪表上端卡在导轨上;
● 再把将仪表下端推进导轨。

■拆卸
● 用螺丝刀(刀口宽度≤6mm)插入仪表下端的金属卡锁;
● 螺丝刀向上推,把金属卡锁向下撬;
● 仪表向上拉出导轨。

|